Maintain the EX4400 Power System
Remove a Power Supply from an EX4400 Switch
Before you remove a power supply from an EX4400 switch:
-
Ensure that you have taken the necessary precautions to prevent electrostatic discharge (ESD) damage (see Prevention of Electrostatic Discharge Damage).
-
Ensure that you have the following parts and tools available:
-
Number 2 Phillips (+) screwdriver—not provided
-
An antistatic bag or an antistatic mat—not provided
-
An ESD grounding strap—not provided
-
A replacement power supply
-
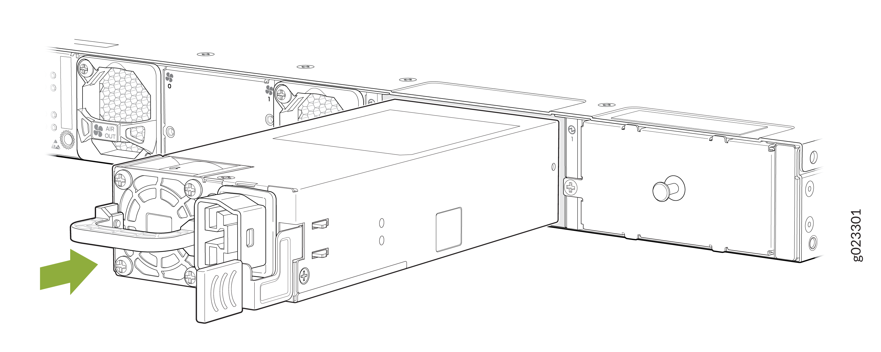
We ship EX4400 switches with one AC or DC power supply preinstalled in the rear panel. Each power supply is a hot-removable and hot-insertable field-replaceable unit (FRU) when the second power supply is installed and running: You can remove and replace either one of them without powering off the switch or disrupting switch functions.
Replace the power supply with a new power supply within one minute of removal to prevent chassis overheating.
To remove a power supply:
Install a Power Supply in an EX4400 Switch
Before you install a power supply:
-
Ensure that you understand how to prevent electrostatic discharge (ESD) damage (see Prevention of Electrostatic Discharge Damage).
-
Ensure that you have the correct power supply. If the label on the installed fan module is AIR IN, you must install a power supply with the label AIR IN. If the label on the installed fan module is AIR OUT, you must install a power supply with the label AIR OUT.
-
Ensure that you have the following parts and tools available:
-
Number 2 Phillips (+) screwdriver—not provided
-
An ESD grounding strap—not provided
-
We ship EX4400 switches with one AC or DC power supply preinstalled in the rear panel. Each power supply is a hot-removable and hot-insertable field-replaceable unit (FRU) when the second power supply is installed and running. You can remove and replace either one of them without powering off the switch or disrupting switch functions.
Do not mix:
-
AC and DC power supplies in the same chassis.
-
Different models of power supplies (such as 550-W, 1050-W, 1600-W, and 2000-W models) in the same chassis.
-
Power supplies with different airflow directions in the same chassis.
-
Power supplies and fan modules with different airflow directions in the same chassis.
To install a power supply:







